Tesla Truck Windshield Wiper Tesla Applies For Patent For Electromagnetic Wiper. Is This A Coming

If you are searching about Why does the Tesla Cybertruck have a huge windshield wiper? | ⚡ Ford you've came to the right place. We have 20 Images about Why does the Tesla Cybertruck have a huge windshield wiper? | ⚡ Ford like Tesla Cybertruck with updated interior and windshield wiper goes on new, Tesla Cybertruck spotted on Fremont Test Track with massive wiper blade and also Tesla Cybertruck spotted on Fremont Test Track with massive wiper blade. Here it is:

Why Does The Tesla Cybertruck Have A Huge Windshield Wiper? | ⚡ Ford

Why does the Tesla Cybertruck have a huge windshield wiper? | ⚡ Ford www.lightningowners.com

Tesla Has Reinvented The Windshield Wiper In New Patent | Fox News

Tesla has reinvented the windshield wiper in new patent | Fox News www.foxnews.com

Is The Tesla Cybertruck Truly Revolutionary?

Is the Tesla Cybertruck Truly Revolutionary? www.rebellionresearch.com

Tesla Cybertruck With Updated Interior And Windshield Wiper Goes On New

Tesla Cybertruck with updated interior and windshield wiper goes on new news.evearly.com

Does Tesla Model 3 Have Heated Windshield Wipers?

Does Tesla Model 3 Have Heated Windshield Wipers? trucksauthority.com

Cybertruck Imagined With Side Mirrors And Windshield Wiper | Tesla

Cybertruck imagined with side mirrors and windshield wiper | Tesla www.cybertruckownersclub.com

cybertruck wiper mirrors windshield imagined cybertruckownersclub

Aliexpress.com : Buy Car Wiper Blades Windshield Wipers For Car

Aliexpress.com : Buy Car Wiper Blades Windshield Wipers for Car www.aliexpress.com

wiper wipers windshield blades tesla car windscreen rubber mercedes janitors blade hook push button pieces fit model arms aliexpress venga

The Best Replacement Windshield Wipers For Your Tesla - EV Pulse

The best replacement windshield wipers for your Tesla - EV Pulse www.evpulse.com

For Tesla Model 3 Windshield Wiper Blade | Tesla Model 3, Tesla Model

For Tesla Model 3 Windshield Wiper Blade | Tesla model 3, Tesla model www.pinterest.com

windshield wiper

Tesla Cybertruck Could Get Innovative Electromagnetic Windshield Wiper

Tesla Cybertruck Could Get Innovative Electromagnetic Windshield Wiper www.carscoops.com

wiper tesla windshield cybertruck

Amazon.com: JOJOMARK For Tesla Model 3 Windshield Wiper Blades

Amazon.com: JOJOMARK for Tesla Model 3 Windshield Wiper Blades www.amazon.com

windshield wiper

Tesla Cybertruck Spotted On Fremont Test Track With Massive Wiper Blade

Tesla Cybertruck spotted on Fremont Test Track with massive wiper blade ilovetesla.com

Tesla Cybertruck Walkaround Video Shows The Absurdly Huge Windshield

Tesla Cybertruck walkaround video shows the absurdly huge windshield dir.md

Tesla Cybertruck Could Get Innovative Electromagnetic Windshield Wiper

Tesla Cybertruck Could Get Innovative Electromagnetic Windshield Wiper www.carscoops.com

wiper windshield cybertruck electromagnetic carscoops

Tesla Cybertruck Prototype Reveals Massive Windshield Wiper In Test Track

Tesla Cybertruck Prototype Reveals Massive Windshield Wiper in Test Track www.autoevolution.com

Tesla CyberTruck Glass Failed – Canvids

Tesla CyberTruck Glass Failed – Canvids canvids.com

tesla cybertruck fiasco elon canvids

17-19 TESLA MODEL 3 EXTERIOR WINDSHIELD WIPER COWL PANEL TRIM 1081676

17-19 TESLA MODEL 3 EXTERIOR WINDSHIELD WIPER COWL PANEL TRIM 1081676 www.ebay.com

wiper tesla windshield

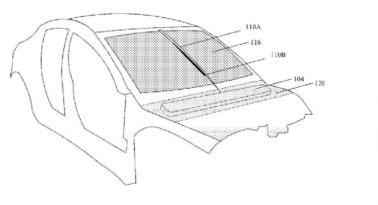
Tesla Applies For Patent For Electromagnetic Wiper. Is This A Coming

Tesla applies for patent for electromagnetic wiper. Is this a coming techstartups.com

cybertruck wiper tesla electromagnetic windshield patent wipers applies revolution coming tweet

How To Replace Tesla Model 3 Windshield Wiper Blades

How to Replace Tesla Model 3 Windshield Wiper Blades www.youcanic.com

tesla blades wiper model windshield replace change youcanic

Tesla Silicone Windshield Wipers - Model S | EVANNEX Aftermarket Tesla

Tesla Silicone Windshield Wipers - Model S | EVANNEX Aftermarket Tesla evannex.com

tesla wiper blades wipers

Aliexpress.com : buy car wiper blades windshield wipers for car. Cybertruck wiper mirrors windshield imagined cybertruckownersclub. Is the tesla cybertruck truly revolutionary?